2005 INFINITI QX4 Factory Service Manual

Page 969 of 3419

INFINITI QX4 2005  Factory Service Manual BL-202
BODY REPAIR
Revision: October 20052005 QX56
OUTER SILL
LIIA1118E

Page 970 of 3419

INFINITI QX4 2005  Factory Service Manual BODY REPAIR
BL-203
C
D
E
F
G
H
J
K
L
MA
B
BL
Revision: October 20052005 QX56
REAR FENDER
WIIA0285E

Page 971 of 3419

INFINITI QX4 2005  Factory Service Manual BL-204
BODY REPAIR
Revision: October 20052005 QX56
WIIA0283E

Page 972 of 3419

INFINITI QX4 2005  Factory Service Manual BODY REPAIR
BL-205
C
D
E
F
G
H
J
K
L
MA
B
BL
Revision: October 20052005 QX56
REAR SIDE MEMBER
WIIA0281E

Page 973 of 3419

INFINITI QX4 2005  Factory Service Manual BL-206
BODY REPAIR
Revision: October 20052005 QX56
REAR FLOOR REAR

WIIA0282E

Page 974 of 3419

INFINITI QX4 2005  Factory Service Manual BODY REPAIR
BL-207
C
D
E
F
G
H
J
K
L
MA
B
BL
Revision: October 20052005 QX56
CRUSH HORN
Work after 1st crossmember has been removed.
Portions to be welded:
A. Inner side rail crush horn, inner side r

Page 975 of 3419

INFINITI QX4 2005  Factory Service Manual BL-208
BODY REPAIR
Revision: October 20052005 QX56
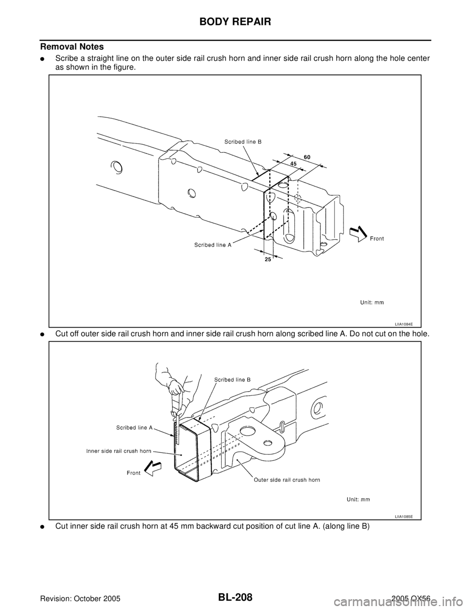
Removal Notes
Scribe a straight line on the outer side rail crush horn and inner side rail crush horn along the hole center
as shown in the figure.

Page 976 of 3419

INFINITI QX4 2005  Factory Service Manual BODY REPAIR
BL-209
C
D
E
F
G
H
J
K
L
MA
B
BL
Revision: October 20052005 QX56
After removing outer panel, dress area on the inner panel surface with a sander or equivalent.
LIIA1086E