Page 22 of 284
8-2 ELECTRICAL SYSTEM PARTS LOCATION - Relay and Control Unit
ELECTRICAL SYSTEM IPARTS LOCATION NOIBAB-A
RELAY AND CONTROL UNIT
16W722
n 17
hub indicator control unit A A Automatic free-wheeling 2
Blower
assembiy& x v/i 16W152B Items Symbol
--
Air conditioner relay D
--
Auto choke relay G
--
Automatic free-wheeling hub indicator control
A
unit
Condenser blower motor relay H
Feed back carburetor control unit C
Hazard warning flasher unit F
Headlight washer relay F
Heater relay E
Intermittent wiper relay F
~___
Light control relay I
~___
Over drive relay F
Power window relay F
Seat belt warning timer B
Turn-signal flasher unit F
carburetor
control unit
Air conditioner relay
d--- I- Jr Evaporator E
1 .STB Re\iision
Page 53 of 284
WIRING HARNESS - Instrument Panel 8-33
cy50 C149 Cl48 c-47
El$,}Cigarette lightet
C-43 Cigarette lighter illumination light
E::$ Radio
C-46 Shift position illumination light
C-47 Inhibitor switch
C-48 OD-OFF switch
C-49 Parking brake switch
C-50 Seat belt switch
C-51 Hazard switch
E3 Column switch
C-54 Key reminder switch
C-55 Ignition switch
C-56 Stop light switch C-57 Dimmer control switch
C-58 Front wiring harness and door
wiring harness (L.H.) combination
C-59 Turn-signal flasher unit
C-60 Power window relay
C-61 Intermittent wiper relay
C-62 Hazard flasher unit
C-63 OD-OFF relay
C-64 Headlight washer motor relay
C-65 Front speaker (L.H.)
Ision
Page 57 of 284
WIRING HARNESS - Charging Circuit 8-37
3 CHARGING CIRCUIT
S‘
Main
fusible ’ L m
link
Battery A-02
, 3
Alternator
El A-48 A-23 Sub fusible link
(IGN - SW)
I
3
cl
Ignition switch
.n
1 Comornatron meter
Remark
For information concerning the ground points (example:
q ),
refer to P.8-7.
3
c:
-22
t 3
c!J I
To turn signal flasher
unit [Refer to P.8-49.1
J 3
a
I
6
m ‘I 81
Multi-
purpose
fuse
37W605
Wiring color code
B: Black Br: Brown G: Green Gr: Gray L: Blue Lg: Light green
LI: Light blue 0: Orange P: Pink R: Red Y: Yellow W: White . / STB Revision
Page 64 of 284
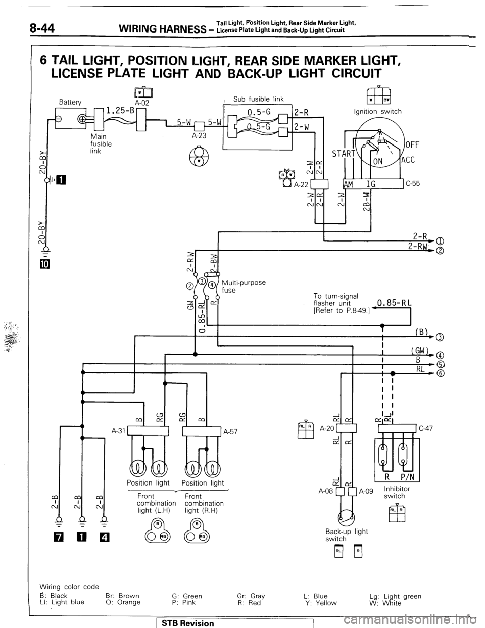
8-44 WIRING HARNESS Tail Light. Position Light, Rear Side Marker Light,
License Plate Light and Back-Up Light Circuit
6 TAIL LIGHT, POSITION LIGHT, REAR SIDE MARKER LIGHT,
LICENSE PLATE LIGHT AND BACK-UP LIGHT CIRCUIT
eF=7 w
?I 19
nwr II I 1 1 I
Battery
EiT Sub fusible link
n1.25-Bn
II
Main
fusible
link
To turn-signal
flasher unit
O-85-RL
combination combination
000
i i
I 1
I I
I I
A-09 Inhibitor
switch
Back-up light
switch
Em
Wiring color code
g: Black Br: Brown G: Green L: Blue
Ll: Light blue 0: Orange Gr: Gray
P: Pink Lg: Light green
R: Red Y: Yellow W: White
1 STB Revision -
Page 68 of 284
8-48 WIRING HARNESS - Turn-Signal and Hazard Light Circuit
9 TURN-SIGNAL AND HAZARD LIGHT CIRCUIT
m 1 Sub fusible link
Battery A-02
- 1.25-B- a3 1 0.5-G
2-R
8 (5-W A-23 5-W
l-l
2-W El3 1 81 Ignition switch
r Main
fusible link
A-32
GW To lighting switch
e [Refer to P.8-46.1
2-R *
2-RW
I-
2-B To column switch
[Rear to P.8-461 I l.ZS-tit3 - a
t 'I 0.85-GY +
I_
(Bl -6
7 0.85-GL LO
I Gw -@ rn&
b-d 5
c-05
lzil
A-57
J CL
--.
I- I--
IG
Turn-signal and
hazard light Turn-signal and
hazard light
Combination meter
Front Front
combination
light (R.H.)
el
n 00
STB Revision
Page 69 of 284
WIRING HARNESS - Turn-Signal and Hazard Light Circuit 8-49
OR
0 RI.
Turn-signal
flasher
GO
0 0.3
Hazard
flasher iazard switch “1 *2
1
Turn-signal switch unit unit
I
I
r
E
L:
ci
C
C-62
Rear Combination
light (R.H.) Turn-signal
and hazard light
-> mm
&
c-57 Rear combination
light (L.H.) light
OL
Em B Dimmer control
switch
m WL
-2 37W825
EJ
m “em~:~s~ ) refer to P.8-7. (1) For information concerning the ground points (exam-
(2) The symbols 0, 0, etc. indicate that the wiring is
connected (using the same numerical symbol) to the
facing page.
(In other words, 0 on the right page is connected to 0 on
the left page.)
Wiring color code
B: Black Br: Brown G: Green Gr: Gray L: Blue Lg: Light green
LI: Light blue
0: Orange P: Pink
R: Red Y: Yellow W: White
I
STB Revision
Page 70 of 284
8-50 WIRING HARNESS - Stop Light Circuit
IO STOP LIGHT CIRCUIT
In3 1 Sub fusible link
A-07
Main fusible
link
Hazard
switch
Turn-
signal
switch Multi-purpose fuse
c-51
0.85-GR
0.85-G 0.85-G
1.85-WG 1 1 1 ,I
,I
$R
WL ’ (
Rear cdmbination
light (L.H.) Rear c:mbination
light (R.H.)
Remark
For information concerning the ground points (example: 0 ),
refer to P.8-7.
Wiring color code
B: Black Br: Brown
G: Green Gr: Gray L: Blue Lg: Light green
LI: Light blue
0: Orange P: Pink R: Red Y: Yellow W: White
1 STB Revision
Page 72 of 284
WIRING HARNESS - Meter Circuit
12 METER CIRCUIT
m 1 A-02
Sub fusible link
15-w Ignition switch
Main fusible -
--
link
A-22
‘1
m -ffiFirmer control BY
4
[Refer to P.8-511
I I 0 column :
[Refer to P.E
@/ Multi-purpose fuse
(bYI
To turn,signal switchfd,,, ,
[Refer to P.8-491 1
To seat belt timer
[Refer to P.8-661
To seat belt warning
buzzer [Refer to P.8-661 M
G 1
I
To alternator
fRefer to P.8-371
0.85tW
41D 1 I 4
‘o dimmer, passir-
witc , “,, ,
:h and light control Ir r n ! , I I I
clay [Refer to P.8461 ~ -_
To dome light Kb
[Refer to P.8-471 4
To door yi~“,h,,_(RG)
ID,.&-* +,.
1
I YBdD t
m ”
q
3
-ly-J
_-- -_ I- r
Combination meter
1 STB Revision